首页 新闻中心 资讯
更多
首页 > 昆明 > 详情

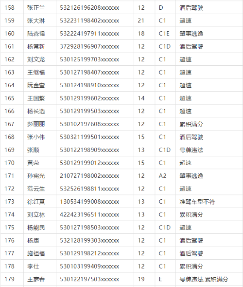
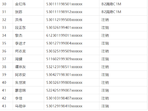
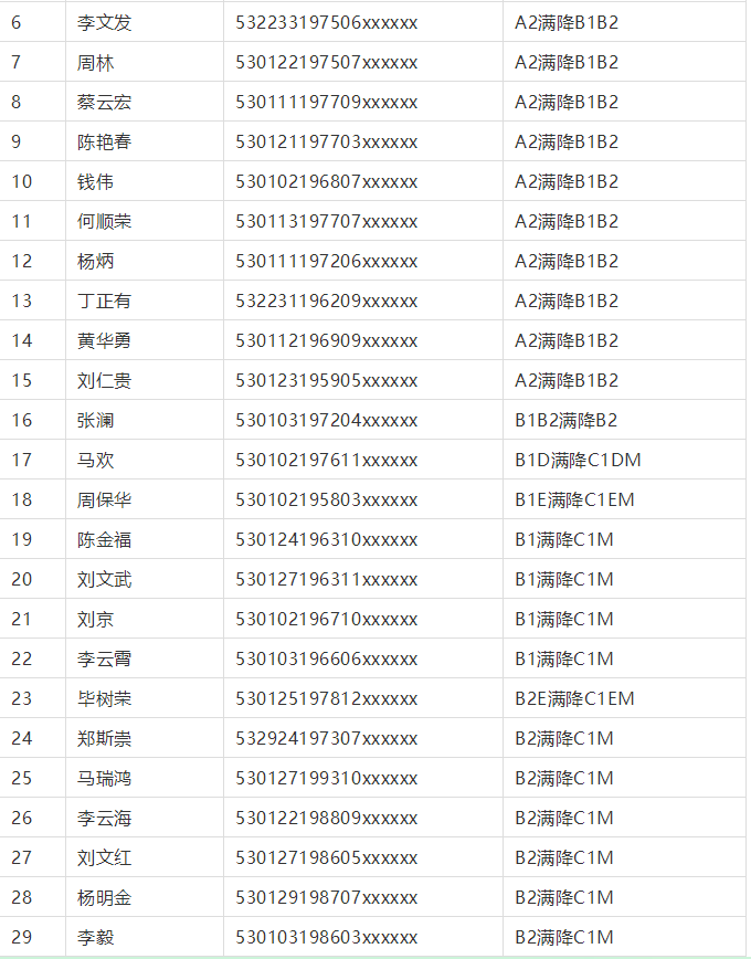
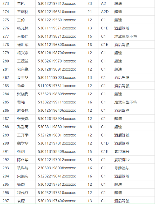
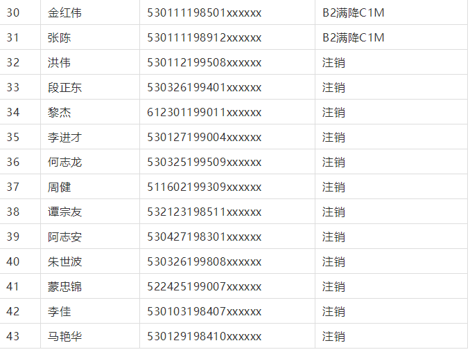
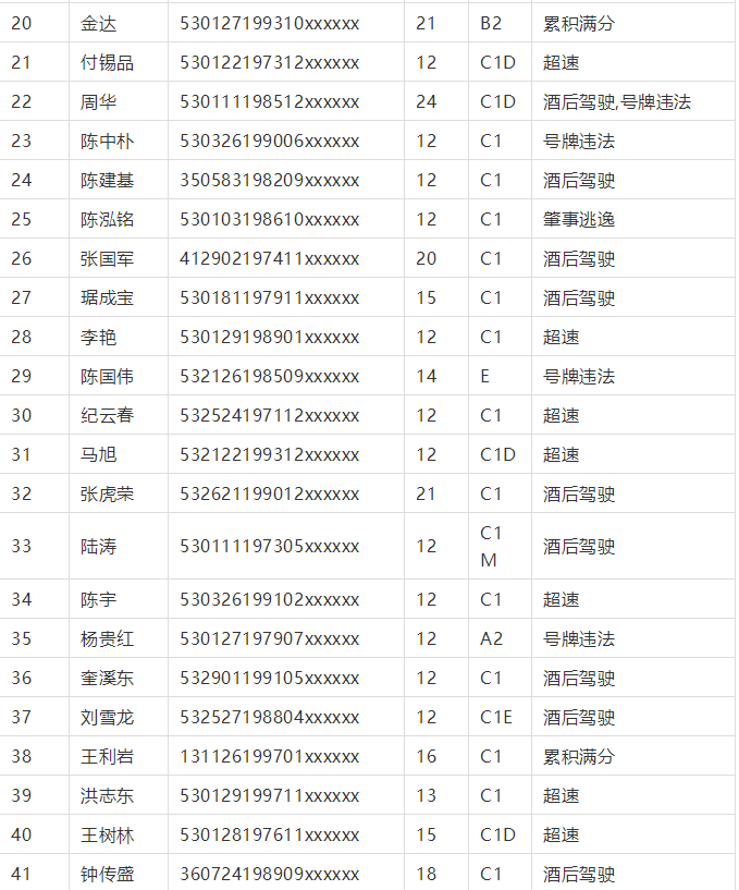
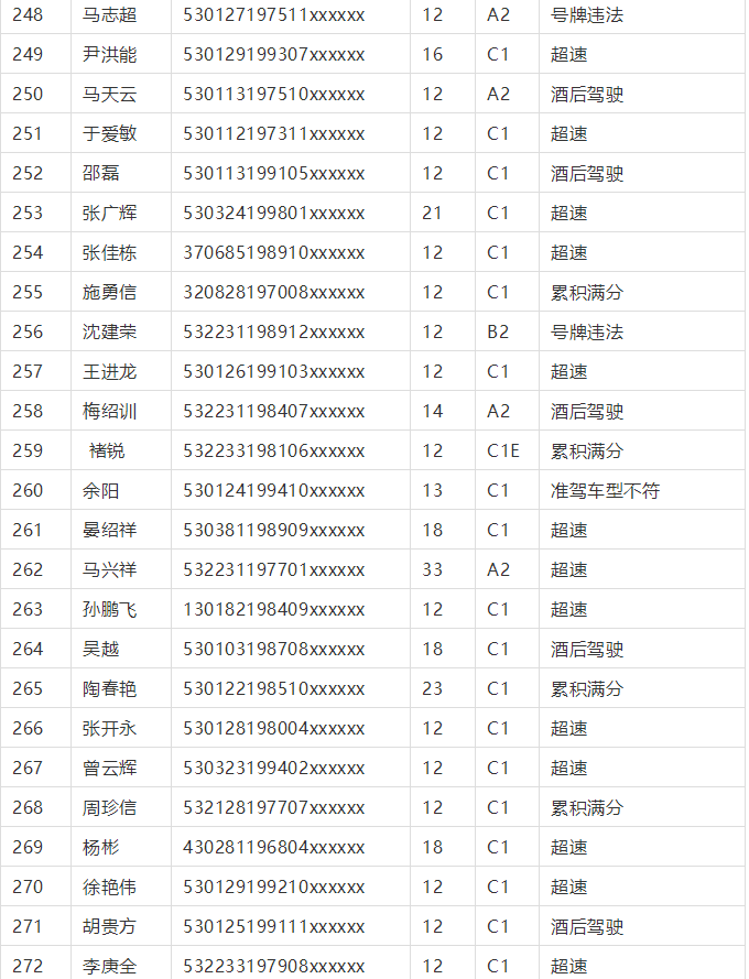
一周曝光台 昆明这456人驾照12分被扣完

640.webp (14)

导读

为提高广大机动车驾驶人遵守交通法律法规的意识,督促驾驶人及时处理交通违法,昆明交警每周日推出违法“曝光台”,看看有你吗?(6686体育综合)

1

2

3

4

5

6

7

8

31

10

11

12

13

14

15

16

17

18

19

20

21

22

问AI

编辑: 曹月 责任编辑: 徐婷

相关阅读

广告热线:(0871)65364045 新闻热线:(0871)65390101

24小时网站违法和不良信息举报电话:0871-65390101 举报邮箱:2779967946@qq.com

涉未成年人举报电话:0871-65390101 举报邮箱:2779967946@qq.com

©2008-2026 6686体育版权所有