首页 新闻中心 资讯
更多
首页 > 昆明 > 详情

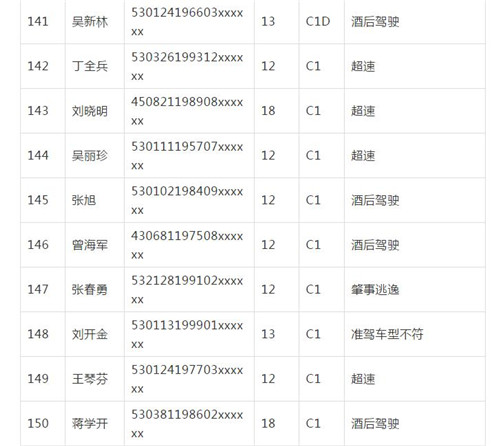
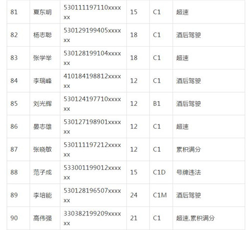
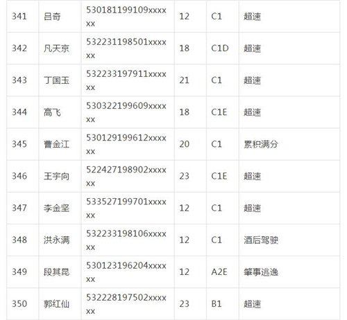
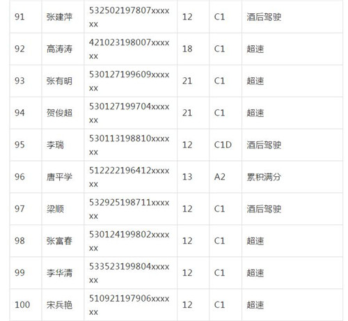
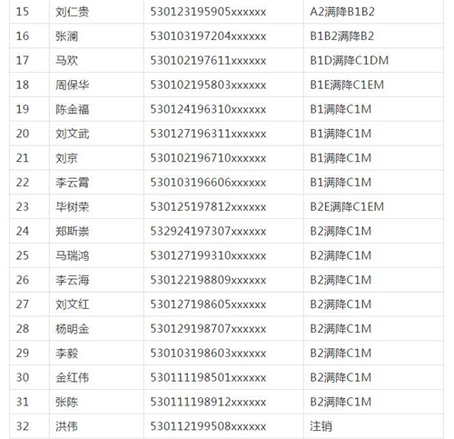
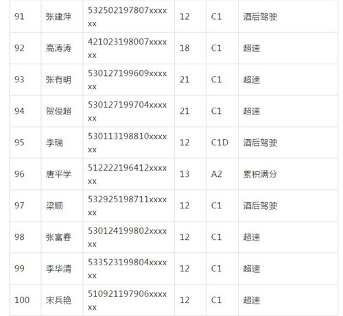
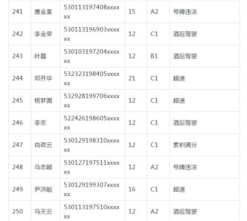
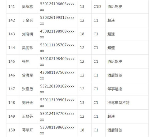
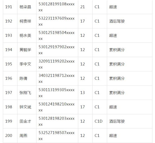
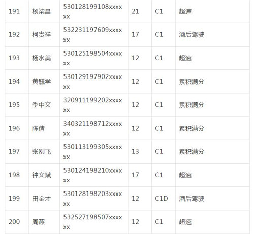
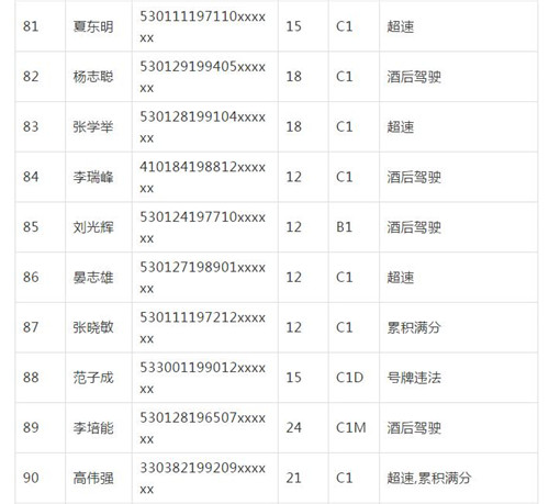
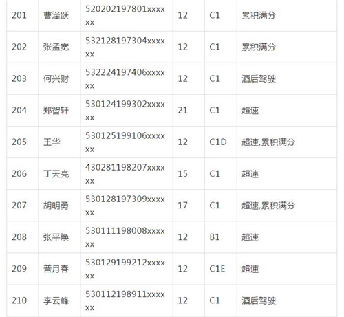
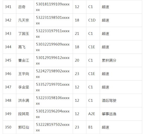
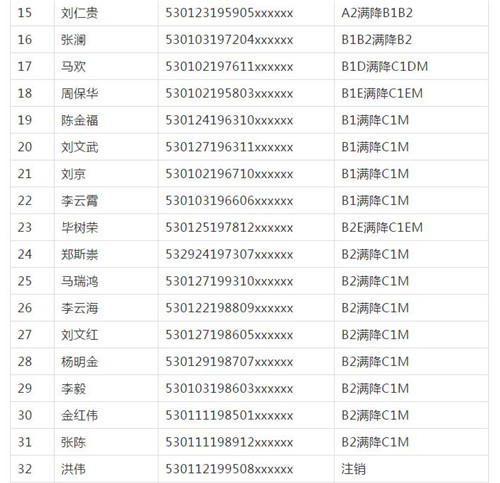
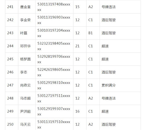
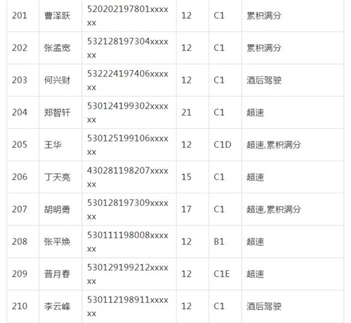
昆明交警一周曝光台:456人被记满12分 超速酒驾者占一半

11月18日,记者从昆明交警了解到,本周共有456人被扣满分学习,其中超速酒驾者占一半,另有43人驾照被注销或降级,以下是具体名单:

1

2

3

4

5

6

7

8

9

10

11

12

13

14

15

16

17

18

19

20

21

22

23

24

25

26

27

28

29

30

31

32

33

34

35

36

37

38

39

40

41

42

43

44

45

46

47

48

(掌上春城 记者周婷)


问AI

编辑: 徐婷 责任编辑: 徐婷

相关阅读

广告热线:(0871)65364045 新闻热线:(0871)65390101

24小时网站违法和不良信息举报电话:0871-65390101 举报邮箱:2779967946@qq.com

涉未成年人举报电话:0871-65390101 举报邮箱:2779967946@qq.com

©2008-2026 6686体育版权所有